规格
1、额定电流
根据**标准GB/T11919-2001中的相关要求,我们国内采用I系列(16、32、63和125A);
2、额定电压
按照工业防水插座不同电压外壳颜色不同可分为:
20-25V为紫色、40-50V为白色、100-130V为黄色、200-250V为蓝色、380-480V为红色、500-690V为黑色;
3、额定频率
我们国内的工业防水插座频率一般为50HZ,而在国外有50、60、100-300和300-500几类;
4、接地出头位置
当工业防水插座的额定电压大于50V时,地极位置一般在1点至12点之间,而比较常见的地极位置在6点钟方向;
5、极数
当额定电压≤50V时,极数有2极和3极两种;当额定电压>50V时,极数有3极、4极和5极三种(具体极数可参考下图);

6、外观
为了满足更多的环境、场合下安装使用需要,插座的外形有小法兰、直型、方型和斜型几种(具体插座外形可参考下图所示);


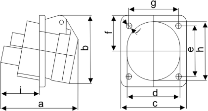
ZYY-413 ZYY-423
16A:a-73 b-70 c-62 d-50 e-49 f-33 g-47 h-56 i-36 j-5
32A:a-87 b-91 c-80 d-64 e-71 f-42 g-61 h-76 i-44 j-6
ZYY-413 ZYY-423
16A:a-80 b-78 c-76 d-56 e-62 f-42 g-60 h-64 i-44 j-5
32A:a-87 b-91 c-80 d-64 e-71 f-42 g-61 h-76 i-44 j-5
ZYY-413 ZYY-423
16A:a-79 b-86 c-75 d-62 e-62 f-37 g-60 h-70 i-42 j-5
32A:a-87 b-94 c-82 d-72 e-71 f-43 g-61 h-82 i-44 j-5









